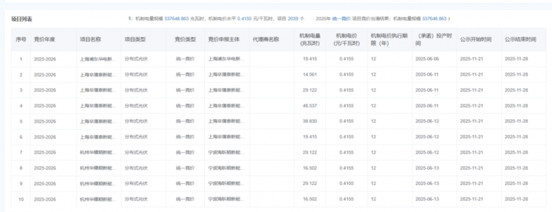
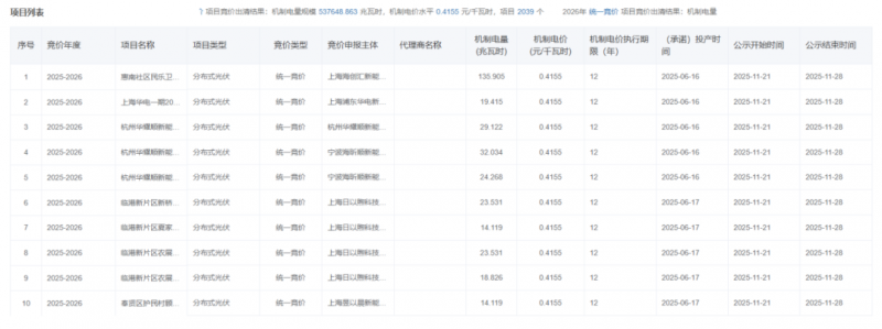
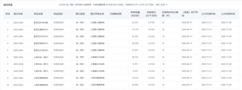
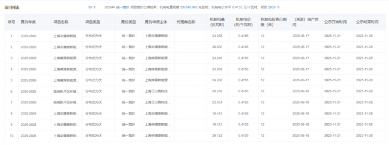
根據公示,本批次為統一競價,機制電量規模為5.3765億千瓦時,機制電價水平0.4155元/千瓦時,項目2039個。
值得一提的是,本次公示結果與上海的煤電基準價(0.4155元/千瓦時)相同,也是目前為止全國增量機制最高出清價格。
10月9日,關于組織開展上海市2025年度新能源增量項目機制電價競價的公告公布。
本批次競價申報主體為2025年6月1日(含)-2026年12月31日(含)全容量并網且未納入過機制電價執行范圍的新能源項目,含集中式光伏、集中式風電、分布式光伏、分散式風電、生物質發電等,不含深遠海風電等成本差異較大的項目、已通過競爭性配置形成價格的特殊新能源項目。
本市對集中式光伏、集中式風電、分布式光伏、分散式風電、生物質發電等各類參與主體原則上進行統一競價。經成本調查確認,與一般類型項目相比平均成本差異較大的項目,可單獨組織競價。
部分項目見下:









